partner-offering-banner.png

MitySOM-A5E Mini: Agilex™ 5E System on Module "Mini"

Critical Link LLC

Select

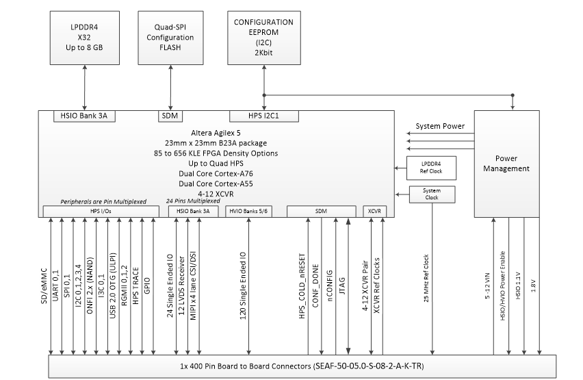
Critical Link's MitySOM-A5E Mini is a family of system on modules designed around the Altera Agilex™ 5 FPGA E-Series. In addition to the Agilex™ 5 FPGA with up to 656KLE, these SOMs feature an LPDDR4 memory subsystem, QSPI NOR, eMMC, microSD card, on board power supplies, and a host of interfaces in a very compact 82mm x 50mm package. MitySOM-A5E Mini is a product-ready solution designed for long term availability and performance in industrial applications.

Key Features

  • Production-ready SOM featuring a range of FPGA densities, memory configurations, and operating temperature ranges
  • Long term availability and product support
  • US-based engineering and production
  • Lifetime access to our technical support site, as well as access to application engineering resources and other services
  • Customers have access to Critical Link's development kit base board design files to jump start their own design
  • ISO 9001:2015 certified
Expand Close
Keyfeatures main image

Offering Brief

Offering Brief

Device Family Agilex® 5 FPGAs and SoC FPGAs E-Series
Offering Status Production
Device OPN(s) on Board A5EC065BB32AE6SR0;A5ED065BB32AE6SR0;A5ED065BB32AE4SR0;A5ED013BB32AE4S;A5ED013BB32AE6S;A5ED013BB32AI6S;A5ED013BB32AI4S;A5ED065BB32AE6S;A5ED065BB32AE4S;A5ED043BB32AE4S;A5ED043BB32AE6S
Demo No
Form Factor 50mm x 82mm
Power 5-12Vdc Input, all supplies generated on board
Interfaces MIPI (x4 lanes x 7); UART; SPI; I2C; USB2; RGMII; Ethernet; Display Port; 48 LVDS pairs; GPIO -- See data sheet for full details
Memory 8GB LPDDR4; SD/eMMC; uSD; QSPI NOR
Connectors Single ruggedized board to board connector
Switches & LEDs yes
Latest Quartus Version Supported 24.2.0

SOM with BSP and access to baseboard design files

Ordering Information

Market Segment and Sub-Segments