banner

Find Offerings

Switch to Partners

By Source
Offering Types
Region
Device Family
Market Segments
Program Level
Sort by
By Source
Offering Types
Region
Device Family
Market Segments
Program Level
Sort by

MIPI H.265

The MIPI H.265 IP Core, based on the High Efficiency Video Coding (HEVC) standard, is an advanced video compression solution optimized for ultra-high-definition (UHD) video applications.

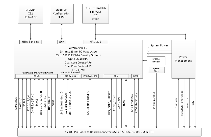
MitySBC-A5E: Agilex™ 5E Single Board Computer

The MitySBC-A5E is a single board computer featuring an Altera Agilex™ 5 SoC FPGA E-Series and includes up to 656KLE FPGA fabric, dual core Cortex-A55 + dual core Cortex-A76, on-board power supplies, and memory subsystems.

MitySOM-5CSx Cyclone® V SoC Development Kit

The MitySOM-5CSx Development Kit supports Critical Link’s Altera Cyclone® V SoC based modules. Each kit includes a compatible MitySOM-5CSx module and a base board that features an array of interfaces and expansion headers such as USB, Debug RS232 to USB Console, Full HSMC Expansion Connector, Partial HSMC Expansion Connector, PCI-e x4 Expansion Header, MMC/SD Card, Gigabit Ethernet and Dual CAN Bus interfaces.

MitySOM-5CSx Cyclone® V SoC System on Module

Critical Link's MitySOM-5CSx is a family of system on modules designed around the Altera Cyclone® V SoC. In addition to the Cyclone® V, these SOMs feature DDR3 CPU/FPGA RAM with ECC, additional dedicated DDR3 FPGA RAM, QSPI NOR, on board power supplies, and a host of interfaces. MitySOM-5CSx is a product-ready solution designed for long term availability and performance in industrial applications.

MitySOM-A10S Arria® 10 SoC System on Module

Critical Link's MitySOM-A10S is a family of system on modules designed around the Altera Arria® 10 SoC. In addition to the Arria® 10, these SOMs feature two DDR4 RAM memory subsystems, on board power supplies, a microSD card, and a host of interfaces. MitySOM-A10S is a product-ready solution designed for long term availability and performance in industrial applications.

MitySOM-A10S Development Kit - Altera® Arria® 10 SoC

The MitySOM-A10S Development Kit supports Critical Link’s Altera Arria® 10 SoC based modules. Each kit includes a compatible MitySOM-A10S module and a base board that together feature an array of interfaces and expansion headers such as FMC, USB 2.0 OTG, USB Console, PCI-e x4 Expansion Header, Gigabit Ethernet, and eMMC/SD Card.

MitySOM-A5E Development Kit: AgilexTM 5E Development Kit with SoM

Development Kit supports Critical Link’s MitySOM-A5E Standard modules, a family of system on modules designed around the Altera Agilex™ 5 E-Series FPGA.

MitySOM-A5E Mini Development Kit: Agilex™ 5E Development Kit with "Mini" SOM

Development Kit supports Critical Link’s MitySOM-A5E Mini modules, a family of system on modules designed around the Altera Agilex™ 5 E-Series FPGA.

MitySOM-A5E Mini: Agilex™ 5E System on Module "Mini"

The MitySOM-A5E Mini is a system on module featuring an Altera Agilex 5E SoC (System on a Chip) and includes up to 656KLE FPGA fabric, dual core Cortex-A55 + dual core Cortex-A76, on-board power supplies, and memory subsystems. The Altera Agilex 5 delivers 2.5x the performance at 50% less power consumption versus the Cyclone V SoC.